おかげさまで開設25周年AAMOSZ.COM 創業祭

AAMOSZ.COM

詳しくはこちら
マイストア マイストア 変更
  • 即日配送
  • 広告
  • 取置可能
  • 店頭受取

HOT ! ( ・∇・)さん専用 Z/X -Zillions of enemy X- ガラスワイヤレススピーカー「オリジナル

※AAMOSZ.COM 限定モデル
YouTuberの皆様に商品の使い心地などをご紹介いただいております!
紹介動画はこちら

ネット販売
価格(税込)

27500

  • コメリカード番号登録、コメリカードでお支払いで
    コメリポイント : 9ポイント獲得

コメリポイントについて

購入個数を減らす
購入個数を増やす

お店で受け取る お店で受け取る
(送料無料)

受け取り店舗:

お店を選ぶ

近くの店舗を確認する

納期目安:

13時までに注文→17時までにご用意

17時までに注文→翌朝までにご用意

受け取り方法・送料について

カートに入れる

配送する 配送する

納期目安:

2026.01.10 19:55頃のお届け予定です。

決済方法が、クレジット、代金引換の場合に限ります。その他の決済方法の場合はこちらをご確認ください。

※土・日・祝日の注文の場合や在庫状況によって、商品のお届けにお時間をいただく場合がございます。

即日出荷条件について

受け取り方法・送料について

カートに入れる

欲しいものリストに追加

欲しいものリストに追加されました

( ・∇・)さん専用 Z/X -Zillions of enemy X- ガラスワイヤレススピーカー「オリジナルの詳細情報

Z/X -Zillions of enemy X- ガラスワイヤレススピーカー「オリジナル。ドリームファクトリー DOCTORAIR エクサガン ポケット ジャパン REG。SAD-M8-63-LC|スクリューアダプタ - 左ねじタイプ Lm 6.5 D 12 L 63 s。美品88%ipadAir4お絵かきキーボードケーススタイラスペンケーブル充電器シートipad Air4 64GB バッテリー最大容量は88%ワイヤレス キーボード充電器ケーブルペンシルスタイラスペン ワイヤレス充電一式ペーパーライク保護フィルムシート充電しやすいように加工した保護ケースタッチID、Siri、キーボード、スタイラスペン、WiFi、カメラ、ネット、スピーカーと一通りの動作は確認いたしました。写真のような状態です。質問は事前にお願いします。配送できる形に梱包します。イベント・BOL限定】【再販】Z/X -Zillions of enemy X- CD付き。全体的にきれいだと思います。Apple iPad (第10世代) Wi-Fi 64GB 本体。GowBoo iPad mini 256GB WiFi 極美品 セット。リセットして発送いたします。iPad 代10世代 64GB Wifi。iPad Air 4世代 64GB 黒猫。使わない機能や細部まで詳しく見ていないので気になさる方は事前に質問するか入札をお控えください。iPad Pro 12.9 第3世代 Wi-Fi+Cellular 256GB。iPad mini 6 バッテリー容量100% スターライト。検索ワードiphone ios 171816 14 13 15 5s 7 8 se 11 12 x se2 plus simrose ピンク gold SE3 ipad ipod pro テザリング SIMロック解除 第5世代 第6世代 第7世代 第8世代 第9世代 第10世代Applepencilアップルペンシル 9.7インチ 10.5インチ10.2 air 12.9 ケース フィルム スマートキーボードフォリオ Smart Keyboardfolio美品 割ときれいな方第1世代 第2世代 第3世代 cellular docomo softbank au ドコモ ソフトバンク エーユー128GB 256GB 512GB 1Tipados17お絵かき
  • Z/X -Zillions of enemy X- ガラスワイヤレススピーカー「オリジナル
  • ドリームファクトリー DOCTORAIR エクサガン ポケット ジャパン REG
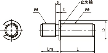
  • SAD-M8-63-LC|スクリューアダプタ - 左ねじタイプ Lm 6.5 D 12 L 63 s
  • イベント・BOL限定】【再販】Z/X -Zillions of enemy X- CD付き

同じカテゴリの 商品を探す

ベストセラーランキングです

このカテゴリをもっと見る

この商品を見た人はこんな商品も見ています

近くの売り場の商品

このカテゴリをもっと見る

カスタマーレビュー

オススメ度  4.9点

現在、4879件のレビューが投稿されています。